最新一轮耗材国采落地!人工耳蜗降至5万上下 国产品牌全线中标静脉支架
发布时间:2024年12月19日 19:40
Author今日资讯
《科创板日报》12月19日讯(特约记者 高青 记者 徐红 郑炳巽)12月19日,最新一轮的高值医用耗材国家带量采购在天津完成投开标。
此次也是继冠脉支架、骨科三大类耗材(关节、脊柱、运动医学)、眼科人工晶体之后,高值医用耗材的第五轮国家集采,主要涉及两大类产品,包括人工耳蜗和外周血管支架(下肢动脉支架、非下肢动脉支架及静脉支架)。
相较以往,与近期刚刚结束的第十批药品集采类似,这一次高值医用耗材的集采在规则上同样出现了较大的调整,包括缩减入围企业数量、取消保底中标机制等,在一定程度上可能会加大企业的降价压力。
不过,在政策收紧的同时,今年的规则又不乏宽松之处,特别是通过复活机制,给予企业二次报价的机会,以便想中标的企业都能中标。
“因此,我们可以看到的是,这次集采的整体结果依然圆满。24家来投标的企业,23家都有中选产品,企业中选率达到96%,产品中选率也超过了90%。而且从大家的报价来看,也都比较理性,没有出现极端的竞争。”
“特别值得一提的是,在人工耳蜗产品组,5家竞标企业最后全部中选,其中报价最低的正是用量最多的进口品牌美笛乐。在外周血管支架三个产品组的竞价中,最低价也全部来自进口企业,而且主流的企业全部中标了。”国家医疗保障研究院价格招采室主任蒋昌松表示。
Image 6
▌细数本轮耗材国采看点
本轮高值医用耗材国家带量采购的一大看点在于,不管是人工耳蜗还是外周血管支架,这两大赛道目前都是进口企业在唱主角,并且市场渗透率都还比较低。
具体来看,人工耳蜗植入体在此次集采中的采购需求量是11239个,获得医疗机构报量最多的是美笛乐和澳科利耳两家外资企业,两者合计占比超60%。而国产企业浙江诺尔康经过近些年的发展,也取得了不错的市场份额,在本次集采中获得意向采购量2314个,占比20.6%。
在本次集采中,因为外周血管支架的竞标企业较多,因此被分成A、B两个竞价单元分别竞价。根据医疗机构需求量由多到少依次排序,累计需求量前85%(含)且能供应全国所有地区的企业被划入A组。
但不管是下肢动脉支架还是非下肢动脉支架,身处A竞价单元的清一色都是外资企业,本土的先健科技、心脉医疗均是B组企业。只有在静脉支架中,苏州天鸿盛捷和归创通桥两家国产企业才得以跻身A组,分别拿到了8.22%和6.76%的年度采购需求量。
竞价规则出现较大调整,并与刚刚结束的第十批药品集采对齐,这是这一次集采的另一大看点。
具体来看,一是入围企业数量有所缩减,比如以前7家企业可以入围5家,但这一次只能入围4家。与此同时,取消了以往只要降价达到一定幅度就基本能够保证中选的保底机制。
取而代之的是在中选规则上做了进一步细分,按照“入围中选”、“入围未中选”、“复活中选”三种规则确定中选企业。
以规则二(入围未中选)为例,在首轮报价中已入围但未获得中选资格的企业,可以再次报价,再次报价的价格只要同时满足以下条件,就能获得规则二中选资格:
a.人工耳蜗类产品竞价比价价格≤各产品类别最高有效申 报价之和的80%;外周血管支架类产品竞价比价价格≤同产品 类别最高有效申报价的70%。
b.竞价比价价格≤同产品类别A竞价单元按规则一最低中选竞价比价价格的1.3 倍。
c.竞价比价价格≤同产品类别A竞价单元按规则一最高中选竞价比价价格。(A竞价单元按规则一独家中选除外)
d.竞价比价价格≤本企业规则一竞价比价价格。
“这是首次在国采高值耗材领域针对按规则一已入围未中选及未入围的企业,引入开标现场再次报价的规则,并对规则一、规则二及规则三分别设置相关最低竞价比价价格1.5倍、1.3倍及1.2倍的熔断价,在保证竞争充分及引导企业合理降低虚高报价的前提下,促使更多企业中选,增加预期稳定性。”曾参与过多轮医用耗材国家集采的业内人士曹毅平这样告诉记者。
值得一提的是,据《科创板日报》记者了解,不管是第十批药品集采还是这一次的人工耳蜗和外周血管支架集采,业内普遍认为,相较以往,两次集采在产品限价(即最高有效申报价)都有所收紧。究其原因,似乎是因为以前的产品单价都比较高,所以现在联采办在制定限价的时候都参考了更多的依据。
以人工耳蜗为例,在本次集采中,支持3.0T核磁的植入体的最高有效申报价是60000元/个,一体式的言语处理器最高有效申报价15000元/个。
从10多万、甚至近30万的现价,一下子跌至7.5万(包含植入体和言语处理器),这个限价到底合不合理?
对此,记者查询公开资料后推测,此次人工耳蜗集采的限价主要还是参考了残联的招标采购价格。据福建省残联2024年儿童人工耳蜗救助项目公布的价格,在本次国采之前,进口和国产人工耳蜗的价格已经降到5万-7万之间。
“残联之前已经有过几次人工耳蜗的招标,当时中标产品价格确实比较低。不过,当初入选残联的人工耳蜗产品大多是不支持核磁的初代产品,出现在此次集采现场的最新版支持3.0T核磁的人工耳蜗其实并没有参考价。”就以上推测,一位业内人士进一步向记者指出。
▌业界:希望集采打开人工耳蜗市场天花板
在此次集采前期报量阶段,人工耳蜗三家外资企业申报的需求量就达到七成以上,从当天申报结果来看,外资也以最低的价格拿走最多份额成为最大赢家。
《科创板日报》记者在现场获悉,两轮报价后,本次人工耳蜗集采5家竞标企业全部中标。其中,奥地利美笛乐、美国领先仿生、上海力声特在首轮报价中按规则一中标,因此可以拿到较多的分配量。而澳科利尔和浙江诺尔康因首轮报价较高未能入围,第二轮通过再次报价以规则三中选。
中标结果显示,五家企业的人工耳蜗中标价都降到了5万上下,尤其是在首轮报价中中标的三家企业,中标价都在5万以下。
Image 30
对于亟需人工耳蜗的患者而言这无疑也是一大利好,他们现在只需花费5万左右,就能用上进口企业支持3.0T核磁的人工耳蜗了。
“以前装单侧人工耳蜗就得二三十万,现在双侧人工耳蜗仅在十万左右,企业在报价上肯定是体现了很大诚意的。”竞标结束后,多位在场企业从业者纷纷感叹道。
“说实话,这个价格对企业还是蛮有挑战的,但我们不惜降价为的就是让利给中国患者,因为人工耳蜗对于听障人士来说真的非常重要。”一家中标外资企业的员工则这样向记者表示。
听力障碍症状多发于儿童和老年人,在中国,每1000名新生儿中就会有1~3名患有不同程度的耳聋,并且随着国内老龄化程度的不断加深,发生听力障碍症状的老年人更是成为不容忽视的群体。
天津医科大学总医院耳鼻喉科副主任杨东提到,和助听器等解决轻中度症状的器械不同,人工耳蜗解决的是耳聋程度最重的那部分患者的生活需求,尤其是对于儿童患者群体而言,植入人工耳蜗后基本能获得一个接近于正常的听力。
上海证券相关研报显示,目前我国人工耳蜗市场渗透率仅在10%左右,远低于发达国家50%的使用率。这其中固然有产品发展、市场培育等因素的影响,人工耳蜗价格昂贵也是重要原因之一。
据悉,人工耳蜗患者除了需要负担一次性安装的设备费用外,后期还需支付长期的言语康复训练、差不多每5年一次的设备升级以及设备维护等费用,治疗负担并不是一笔小钱。
“人工耳蜗的产品具有一定的特殊性,不仅要听到,更要听懂,因此一位儿童患者进行相关的手术后,需要进行终生培训和设备维护,这就需要设备生产企业对言语处理器等设备持续进行维护和升级,持续地对效果进行跟踪。”解放军总医院耳鼻咽喉头颈外科医学部主任杨仕明告诉记者。
第五次集采将人工耳蜗纳入其中,对于这一原本冷门的赛道而言,既是机遇也有挑战。面对集采导致的市场大幅缩水,企业对此该如何应对,这是值得深思的命题。
曹毅平对《科创板日报》记者表示,从此前几次集采的后续表现来看,市场放量还是比较可观的,例如2020年国家对第一批高值医用耗材冠脉支架进行了集采,降价后的中选支架的供应量分别达到了当年协议量的149%、123%和123%左右,2021-2023年中选产品使用量年均增长达17%左右。
相较药品集采,外资药企在器械类集采中的报价显然更果断和激进,对于中国市场的势在必得展露无遗。早在2017年,澳大利亚科利耳公司就成为首家在中国设立制造基地的境外人工耳蜗公司,其生产基地在2021年正式投入运营,设计产能约为年产2万套人工耳蜗植入体及声音处理器。
对于外资企业而言,在产量确定,价格下降的前提下,布局本地化产能对于节约成本同样大有帮助。
作为国产人工耳蜗行业的一员,诺尔康总经理李楚则将未来的希望寄托在原本低迷的老年群体市场。据其表示,此前国内人工耳蜗行业增速大概是在30%左右,但和海外以老年群体为主的用户画像不同,国内人工耳蜗的使用者大多是儿童。
在李楚看来,目前国内人工耳蜗行业儿童患者数量已经达到一定的天花板,未来市场的增长量主要在中老年人,这个群体非常看重性价比和服务质量。
此次集采之前,进口产品价格大概是国产的两到三倍,集采之后双方价格都被大幅度拉低,叠加医保报销的力度,足以打消很多潜在消费者对于价格的顾虑,促进成人群体尤其是老年耳聋患者在未来成为人工耳蜗最大的市场。
“大家依然看好行业未来的潜力,尤其期待进入集采后,人工耳蜗的使用量能够有一个明显的上涨。”李楚笑着表示。
▌静脉支架:从2万到4000元,国产齐齐中标
“有B组企业报出2280元的价格,把同一竞价组的其他所有企业一举熔断。”在静脉支架的竞价中,出现了本次集采最戏剧的一幕。
作为外周血管支架的一个重要品类,静脉支架主要用于支撑发生狭窄的髂静脉、股静脉等。静脉血管壁薄,弹性差,因此相对于动脉支架,静脉支架需具备更好的径向支撑力与柔韧性。
公开数据显示,国内约有一亿患有慢性静脉疾病的患者,约占我国血管外科疾病的60%,常发生在下肢,例如静脉曲张之类的症状。
近年来随着地方各级医院建立血管外科,静脉治疗病例迅速放量,成为地方医疗机构的重要业务,相关企业新品上市速度也坐上了“火箭”。
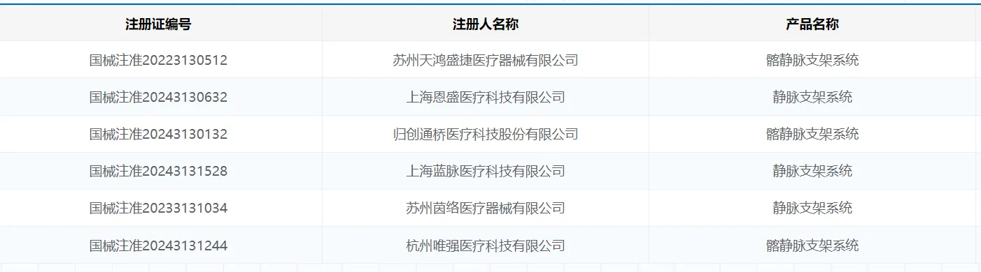
《科创板日报》记者梳理相关数据发现,自2022年4月天鸿盛捷静脉支架在国内上市,三年内国内已有约6款静脉支架获批上市,中国髂静脉支架介入手术数量也从2016年的293台增至2023年的9415台。
上市公司中,心脉医疗子公司上海蓝脉医疗科技有限公司(简称“上海蓝脉”)研发的Vflower®静脉支架系统在今年8月刚刚获批;归创通桥则在今年1月获批了ZYLOX® Penguin静至髂静脉支架系统。
Image 54
在本次国采中,上海蓝脉、归创通桥均是竞标企业,其他国产企业还有苏州天鸿盛捷、苏州茵络、杭州唯强、北京安泰生物、上海恩盛医疗等5家。静脉支架也是本次外周血管支架国采中,参与国产品牌最多的一个品类。
在首轮报价中,A组企业表现可谓中规中矩。5家竞标企业中,两家外企波科、巴德医疗首先发力,分别报出4130元、3080元的价格,顺利拿下中标资格,同一竞价组的归创通桥也不甘示弱,报价3519元,同样中标。在这一场较量中,戈尔和苏州天鸿盛捷因为报价较高未能入围。
相较之下,B组企业的竞价显得更加惊心动魄一些。因为康蒂思一举报价2280元,其余几家报价在4000元以上的国产企业,因为1.5倍的熔断线纷纷被熔断出局,未能在首轮报价中中标。
不过在二次报价中,这些国产企业调整价格全线中标,中标价普遍在4000元上下。一位在场的业内人士告诉记者,集采之前静脉支架价格大约在2万元左右,据此计算,此次集采让静脉支架的价格大概缩水近八成。
Image 59
“这次集采外资企业的报价还是表现出了非常大的诚意,降幅不可谓不大。”天津市第一中心医院外周介入科副主任陈磊表示,作为外周科临床医生,他更希望保留现有的好产品,同时扶持一些新的品牌,更好地满足临床多样化的需求。
可以说,包括静脉支架在内,国内整个外周血管支架领域都还在成长阶段。集采给刚刚起步的国产企业带来更多医院准入机会的同时,因为价格的下降以及市场放量还存在一些不确定性,他们的未来依然会有挑战。
“因为我们的产品上市不久量还有限,所以成本相对外企可能会更高,而外企做的是全球市场。”有竞标企业这样告诉记者。
谈到集采后国内市场竞争格局的变化,天鸿盛捷董事长、总经理王永刚则对《科创板日报》记者坦言,从今天的竞标结果看,其认为不会有太大的变化。
2022年相关静脉支架产品拿到上市许可后,天鸿盛捷的产品几乎是以每年翻倍的增长速度在发展,但在王永刚看来,目前国产和外资还是有一些差距,一方面是因为国外市场培育时间早,产品线成熟,另一方面也得益于他们面对的是全球市场,而国内企业面对的是单一的中国市场,双方发展速度不一致。
作为一名耕耘行业近20年的“老兵”,对于大家一直在提的进口替代,王永刚有自己的理解。他认为,目前行业内关于产品的观念和理解已经没有太大的差距,未来国产品牌“突围”的方式,一定是在跟国外企业从产品质量、稳定性、多样性等方面进行“头对头”的全面比拼,不存在靠某些政策优势就能实现躺赢,不能及时创新的产品管线大概率会被淘汰。
产品
缤商APP用户后台
关于我们
公司简介加入我们
用户协议
隐私政策
联系我们
合作:135-8566-0971
客服:021-61673695
邮箱:support@bincial.com
地址:上海市浦东新区御桥路1220弄3号
DownloadAPP
视频号
WeChat
公众号
抖音
快手
Copyright© 上海播知科技有限公司 沪ICP备2023012989号-4