国产脑机接口植入又一例
发布时间:2024年11月14日 10:28
Author络圈看点
上海市科委表示,上海聚焦侵入式、半侵入式赛道,力争2027年脑机接口产品在国内率先实现临床应用。
近日,全国第三例,也是上海首例脑机接口临床试验植入手术在华山医院完成。
手术过程相对简单,需将一枚硬币大小的脑机接口体内机嵌入患者颅骨外,以采集大脑中运动区域的神经信号。手术全程仅耗时1小时40分钟,目前患者术后恢复情况良好。据悉,该患者先前因车祸造成颈椎脊髓损伤,4年间无法完成抓握、站立等基础动作,如今已能下床坐轮椅。
此次手术用到的脑机接口产品NEO,由博睿康医疗科技(上海)有限公司(简称“博睿康”)与清华大学生物医学工程学院洪波教授团队合作开发。其已在上海完成研发和型式检验,并于2024年8月成为我国首款进入创新医疗器械特别审查程序的脑机接口产品。目前该产品仍处于临床试验阶段,预期将通过多中心临床试验后取得三类医疗器械注册证。
Image 4
图为脑机接口产品NEO植入人体的示意模型
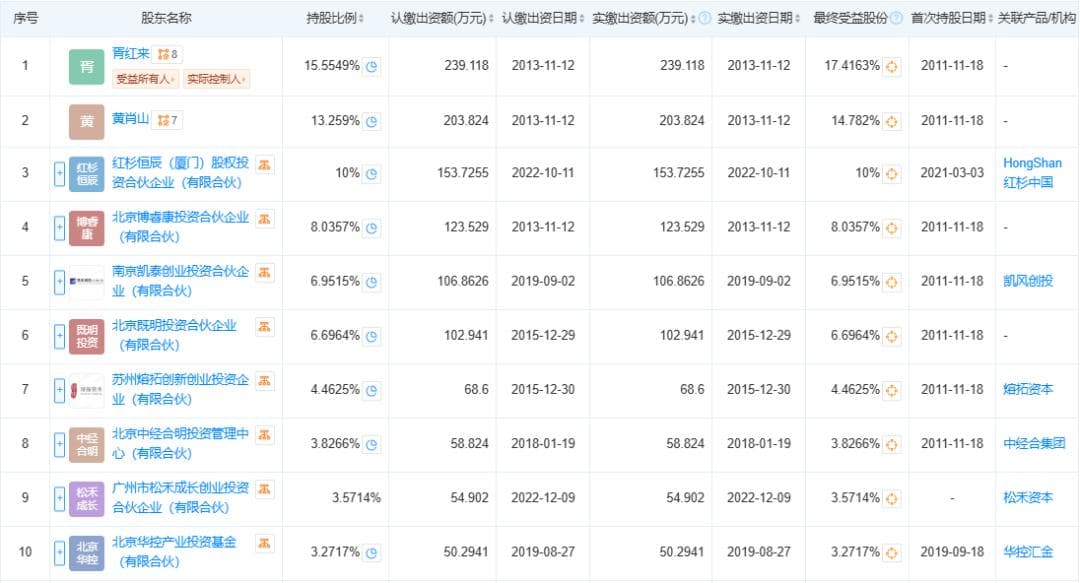
公开资料显示,博睿康成立于2021年,其100%控股母公司博睿康科技(常州)股份有限公司背后股东有红杉中国、凯风创投、熔拓资本等投资机构。据实控人胥红来透露,公司最近刚刚完成D轮融资签约。公司旗下拥有数字脑电图机、NeuroHUB可穿戴式多模态研究平台、DSI-24无线干电极脑电采集系统等多款脑科学产品。
Image 7
图源:天眼查
上海市科委表示,上海聚焦侵入式、半侵入式赛道,重点推进脑机接口产品化、建设共性技术研发服务平台、推动临床试验与应用示范、健全产品标准与检测体系、培育产业生态。同时,支持非侵入式脑机接口产品进一步提升技术水平和应用规模。力争2027年,脑机接口产品在国内率先实现临床应用。
作为一种直接连接大脑与外部设备的技术,脑机接口的概念早已有之。其根据采集神经信号的深度不同,可分为侵入式、非侵入式和半侵入式。侵入式脑机接口大多活跃在疾病诊疗市场,非侵入式则会是消费市场的主要选择。
随着脑机接口技术的阶段性成熟和海外热点多重刺激,近期以来我国各方面频繁出台相关政策支持其商业化落地:
今年10月上海市人民政府办公厅印发《上海市提升生物医药企业国际竞争力行动方案(2024—2027年)》。其中提出,持续支持创新研发。支持生物医药企业在脑机接口、AI+医药等国际前沿领域和新赛道加强前瞻布局,提升早期研发等创新能力。
9月30日,广东省人民政府印发《关于加快培育发展未来产业的行动方案》,提出加快合成生物、AI+生物医药、细胞和基因治疗、脑科学与脑机接口、类器官等技术突破和产业化,推动生物技术和信息技术融合发展。
先前,北京市人民政府办公厅印发《北京市加快医药健康协同创新行动计划(2024-2026年)》,提出在细胞基因治疗、脑机接口、合成生物学等前沿技术领域部署“核爆点”专项,催生具有颠覆性、引领性的科学发现和技术突破。
根据Precedence Research研究数据,全球脑机接口市场规模有望从2023年的23.5亿美元成长至2033年的108.9亿美元,对应CAGR为16.6%。另据中国信通院发布的《脑机接口技术发展与应用研究报告(2023年)》,医疗或成为脑机接口主要产业化方向,占比56%,商业化空间广阔。
国海证券认为,脑机接口是新质生产力和未来产业发展方向。政策鼓励脑机接口产业发展, 医保亦支持其医疗应用。脑机接口技术正处于大规模应用的质变前夜,国内外应用落地加速,上市公司积极布局。
从投资层面来看,中信证券建议关注脑机接口三条主线:一是海外先行产业突破带动国内映射标的景气预期抬升;二是有望推出消费级脑机产品的公司;三是有望受益于脑机产品落地的应用端公司。
据《科创板日报》不完全统计,A股中已布局脑机接口的公司有:
Image 19
未上市公司方面,聚焦脑机接口赛道的主要有以下企业:
Image 21
本文来自微信公众号“科创板日报”
产品
缤商APP用户后台
关于我们
公司简介加入我们
用户协议
隐私政策
联系我们
合作:135-8566-0971
客服:021-61673695
邮箱:support@bincial.com
地址:上海市浦东新区御桥路1220弄3号
DownloadAPP
视频号
WeChat
公众号
抖音
快手
Copyright© 上海播知科技有限公司 沪ICP备2023012989号-4