困于28.6亿银行借款,上海老牌房企中福置业被追债,旗下古玩城被法拍

中福古玩城,一个经常举办艺术品拍卖的地方,如今其自身也成为了拍卖的对象。
近日,时代周报记者查询京东资产交易平台发现,“上海市黄浦区湖北路199弄1-98号共计98套商业不动产”开拍。
上述标的所处物业为上海知名古玩城之一的“中福古玩城”。拍卖资料显示,该古玩城有98套房屋,对应着此次拍卖的98套商业不动产。
12月13日上午10时,上述拍卖正式结束,共吸引了2404围观,47人设置关注提醒,但最终因无人出价而流拍。

土地使用权仅剩下15年
拍卖页面显示,中福古玩城的所有人为上海中福置业控股集团有限公司(下称“中福置业”),建筑面积4848.44平方米,评估价2.69亿元,此次拍卖起价1.88亿元,相当于打了7折,起拍单价为每平米3.88万元。
中福古玩城官微显示,该古玩城地处上海南京路商业圈,于2006年开业,在上海古玩行业具有重要影响和地位,每年有几十场的展览、交易会在古玩城里举办。
2021年8月,中福古玩城获得上海市文旅局和市文物局“文物商店经营许可”批复,是彼时上海唯一的拥有“市场文物经营许可”和“文物商店经营许可”的两证单位。

对于此次中福古玩城的流拍,中国企业资本联盟副理事长柏文喜对时代周报记者分析指出,土地使用期限较短或是主要原因之一,潜在买家可能无法充分回收投资或实现预期的增值。
拍卖资料显示,中福古玩城所处土地宗地号为“黄浦区南京东路街道88街坊1/1丘”,该地块的使用期限为1999年10月28日至2039年10月27日,截止日期距今已不足15年。
上海易居房地产研究院副院长严跃进此前接受时代周报记者采访时也曾表示,目前关于不动产产权续期方面的政策并不明朗,各地说法不同,而且主要偏住宅类的,商办资产的收并购确实也受到了一定的影响。

此外,本次中福古玩城的拍卖还附带租约,租约开始时间为2016年1月1日,租约结束时间为2026年12月31日,租期共11年。租金已支付至2023年12月31日,租金为每日1元/平方米。同时,中福古玩城的物业管理费欠费104.73元(截至2024年12月31日),物业管理费标准为每月8元/平方米。
柏文喜表示,南京路作为上海的核心商圈之一,商铺日租金水平远高于1元/平方米,低廉的租金可能也影响了市场对拿下中福古玩城的信心。加之其物业老旧,未来若进行翻新或改造,将增大投资风险。
源于一笔未偿还本金28.6亿的银行借款
作为沪上知名古玩城,中福古玩城之所以沦落到被法拍,主要源于一笔未偿还本金高达28.62亿元的金融借款。
上海金融法院在2023年2月28日发布的一份民事裁定书显示,2016年6月,上海金福外滩置业有限公司(下称“上海金福”,中福置业控股子公司)与中国工商银行股份有限公司上海市浦东开发区支行(下称“工行”)签订了一份《房地产借款合同》,借款39亿元,期限为15年。
同年11月,工行与上海中福置业、上海中福(集团)有限公司(下称“中福有限公司”,中福置业全资控股子公司)、胡培毅(中福置业创始人、法人)签订了《中福文化广场项目变更协议》,借款金额变更为40.77亿元。
时间来到2021年,上海金福向工行支付了截至2021年3月20日的利息后,就未再支付利息。故工行将向上海金融法院提起诉讼,要求上海金福立即归还全部借款及相应的利息、罚息、复利并应承担相应的费用;并要求上海金福、中福置业、中福有限公司、胡培毅承担相应的担保责任。
2023年2月,上海金融法院就上述案件公开开庭进行了审理,最终判决:上海金福应向工行支付本金约28.62亿元、支付利息约2.00亿元、逾期利息596.70万元。若上海金福届期不履行付款义务,工行可以与中福置业协议,折价或者申请以拍卖、变卖其名下多处房产,所得价款优先受偿。

而京东资产交易平台发布的执行裁定书则显示,因上海金福、中福置业、中福有限公司、胡培毅等四名被执行人未履行付款义务,上海金融法院于2024年10月28日裁定对查已封的中福置业名下5处不动产进行变价处理。
此次拍卖的中福古玩城便是其中一处。此外,中福置业名下上海市黄浦区汉口路618号101-104室、地下一层美食广场、二层商场1、二层商场2、三层整层、四层整层的不动产(下称“中福大厦商场”)也在京东资产交易平台拍卖。
据悉,中福大厦商场的拍卖于12月13日上午结束,最终因无人参与竞拍而流拍,其评估价4.78亿元,起价3.35亿元。

中福置业近年来风险信息增多
若非此次中福古玩城的拍卖,“中福置业”这家上海老牌房企似乎早已淡出了人们的视野。
根据公司官网,中福置业成立于1992年,前身为上海中福地产置业有限公司。该公司成立以来先后在上海黄浦区核心位置开发了中福大厦、中福公寓、中福城(一期、二期、三期)、中福现代城、中福花苑(一期、二期)等项目。2013年11月,公司更名为上海中福置业控股集团有限公司。
在中国房地产业协会、上海易居房地产研究院联合发布的《2019中国房地产开发企业500强榜单》中,中福置业位列第497位。

天眼查显示,中福置业注册资本为9688万,法定代表人为胡培毅,公司股权结构是宁波市江东中福投资发展公司持股100%,通过股权穿透可以发现,胡培毅是中福置业的实际控制人。
除了房地产外,中福置业还涉足文化、贸易、农业等多个多领域,拥有十多家控股、参股公司。其中,有经营古玩市场的上海中福古玩文化市场经营管理有限公司,有负责私人保管箱服务的上海中福金控投资有限公司,有在澳洲从事农业投资的金伯利农业产业发展有限公司。
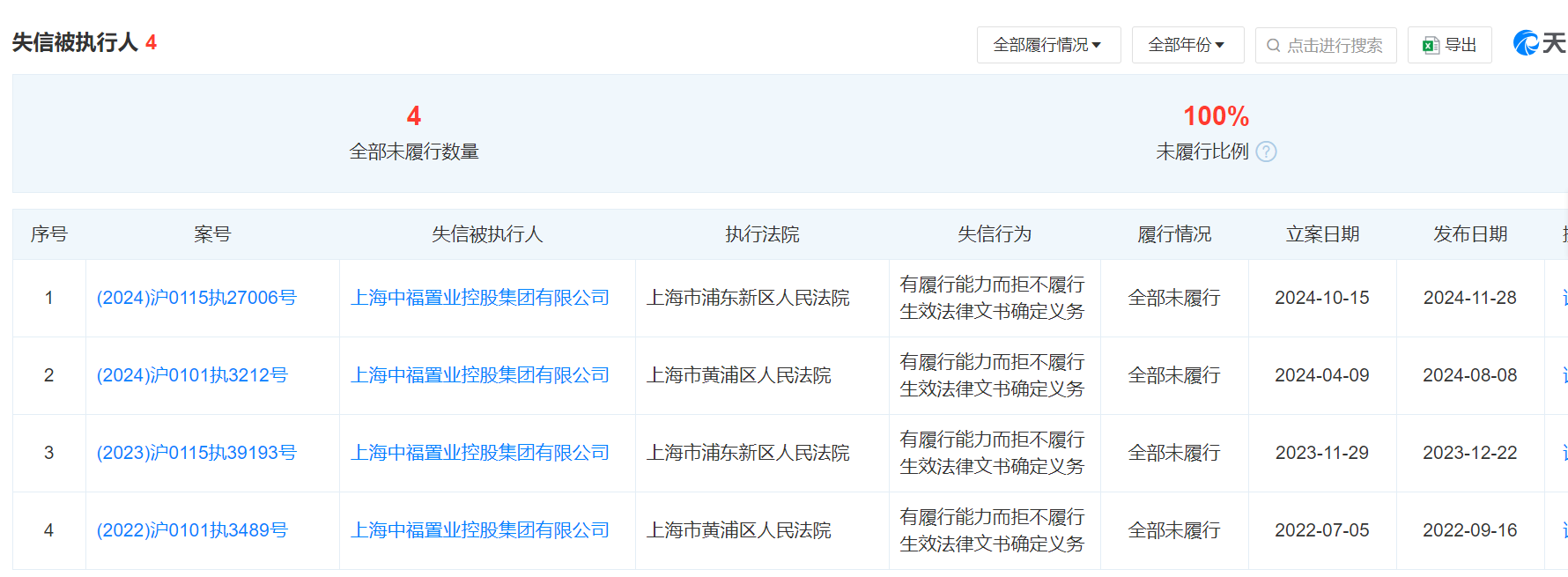
近年来,中福置业不仅涉及的司法案件较多,而且还有股权冻结、限制高消费等情况。天眼查显示,目前中福置业现存被执行人信息9条,被执行总金额累计35.45亿元。该公司还有4条失信被执行人记录,履行情况均为全部未履行。

为了解中福置业当前经营情况以及中福古玩城的后续运营等问题,时代周报记者拨打了中福集团官网所留企业文化宣传中心电话发现,目前该号码目前已用于上海中福金控投资有限公司旗下中福保管箱保管库1号的联络。
记者还拨打了中福古玩城官微文章中所显示的联系电话,接通后转接查号,接电话的工作人员回应称,其所处的位置是中福古玩城的监控室,并无领导办公室的联系方式。而对于古玩城拍卖一事,该人士表示,刚听说不久,其也在关注。
此外,记者还向中福集团官网邮箱发送了采访函,但截至发稿,暂未有任何回应。