AR显示专利曝光!英伟达布局AR醉翁之意不在酒?
近日,美国专利局公布了一项英伟达提交的新型专利,这项名为“无背光增强现实数字全息技术”的专利描述了一种新的AR显示技术,旨在降低AR眼镜重量的同时提供更好的显示效果。

图源:推特
消息一出,很快就成为AR市场的讨论热点,如果这个专利是由Meta、谷歌等科技巨头提交的,估计大家都不会感到太惊讶。但是英伟达作为一个半导体厂商,此前几乎没有在AR领域发布过产品,突然抛出一个全球领先的技术,让整件事都变得耐人寻味起来。
作为AI热潮中获益最多的半导体厂商,终于打算将自己的手伸向个人智能终端市场了?英伟达到底想做什么?恐怕是许多AR厂商心中的最大疑问。
让AR设备功耗更低、更轻薄、更亮
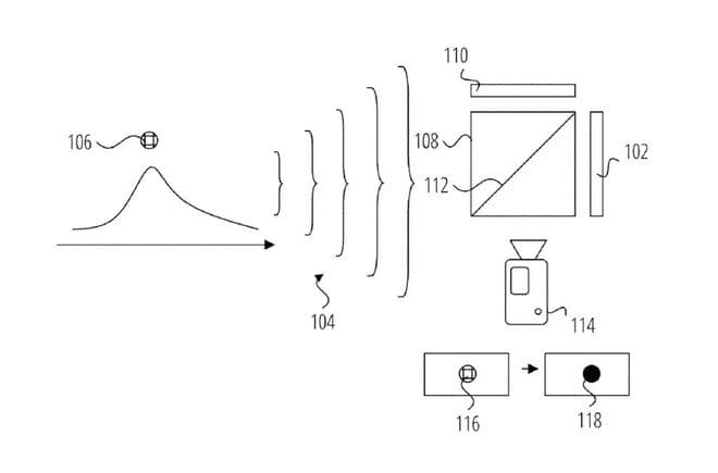
什么是无背光增强现实数字全息技术?在英伟达提交的专利说明里,这是一种采用数字全息技术和环境光干涉技术设计的显示系统,并且结合了采用深度学习训练和开发出来的神经网络控制系统,最终实现双视点的立体显示效果。
这项技术可以在低功耗、小体积的情况下提供更高的显示亮度和更具沉浸感的AR显示效果,能够显著提升用户的AR眼镜使用体验,并且让AR眼镜适用于更多场景。简而言之,你可以认为这是英伟达为下一代AI眼镜所准备的技术,如果描述属实,其使用体验会显著优于现有的AR眼镜。
现有的AR眼镜主要分为两种,一种是将显示源设置在镜框顶部,利用分光镜和凹面镜将画面反射至眼镜,实现AR显示的效果,一般被称为Birdbath方案;另一种则是将显示模组放在镜腿等位置,通过特殊的波导模块将画面反射至镜片中并最终成像,也被称为光波导方案。

图源:雷科技
其中,Birdbath方案的画面清晰度和亮度更高且成本更低,能够满足观影、游戏等对画面要求高的使用需求,缺点则是功耗高且模组厚重,无法实现轻量化设计。光波导方案则相反,成品可以做到如普通眼镜一般大小,但是入眼亮度和沉浸感都远不如Birdbath方案,更适合导航、文字阅读等应用。
虽然优缺点各有不同,但是两套方案的核心都是一个独立的显示模块,一般采用具有自发光特性的Micro-OLED、Micro-LED等显示面板制作,通过特殊的光路设计将光线反馈到人眼的视野范围中。
而英伟达的无背光增强现实数字全息技术则不同,虽然同样设计有全息显示模块,但是却采用了“无背光”设计,也就是其本身不具有发光功能,而是通过环境光干涉原理来激活显示模块。
简单来说,英伟达在镜框上设计了允许环境光通过的窗口,并可能用微型镜片实现聚光效果,将增强后的环境光反射到环境光干涉结构中,结合全息显示模块投射出画面,最终实现文字等信息的显示。

图源:推特
因为去除了背光源这个耗电大户,所以无背光设计的运行功耗远低于常规显示技术,能够实现超长的离电续航。而且在聚光结构的协助下,显示内容的亮度可以恒定高于环境光的亮度,即使在户外的烈日下仍然可以使用,不会因为环境光亮度高于背光亮度导致画面难以看清。
但是,在实际使用中这套系统也有明显的局限性,比如当你在房间里使用时,如果显示区域的范围内有高于环境光亮度的其他光源(如显示器、电视等),那么画面的清晰度将无法得到保障。
为了解决这个问题,英伟达还开发了一项名为“智能阴影”的技术,利用位于眼镜前方的摄像头收集镜片面区域的环境光亮度和发光区域,让对应区域变暗,凸显AR内容。

图源:推特
虽然英伟达没有详细说明是如何实现的,不过我猜测是通过将镜片分割为多个区域,然后利用电致变色技术来实现单个或多个区域的透光度调整,类似的技术XREAL One也使用过,在不摘除外层遮光罩的情况下就可以实现对外部环境的遮蔽或透视。
不过,这套方案仍然有一个致命缺陷,那就是在低光照环境下使用欠佳,如果是无光或光源位置不对的场景下,可能会无法激活全息显示模块。比如说夜晚在户外环境下,可能只有走到路灯下才能使用,这也是环境光干涉技术的缺陷。
在我看来,如果英伟达真的打算设计一款基于该技术的AR眼镜,应该不会真的采用无背光设计,而是在取光窗口处设置一颗小型光源,在暗光环境下自动开启,用来激活环境光干涉模块。因为暗光环境下对AR画面的亮度要求本就不高,独立光源的功耗和体积都可以做得很小,并不会对眼镜的续航和体积造成太多影响。
虽然英伟达目前只是公布了一个专利,但是无背光增强现实数字全息技术显然有着不错的前景,唯一的问题是:英伟达真的要进入个人终端市场与其他厂商肉搏吗?
入局AR,英伟达醉翁之意不在酒?
作为一家半导体企业,英伟达从成立之初到现在为止,主要的产品都是各类芯片,少有面对消费者的整合式消费电子产品。
在过去的几十年里,英伟达也就在2013-2015年间发布过NVIDIA SHIELD系列,该系列共有三款产品,分别是SHIELD Portable(便携安卓游戏掌机)、SHIELD Tablet(安卓平板电脑)和SHIELD Android TV(安卓机顶盒,支持游戏串流功能)。因为产品体验并不佳且市场反馈一般,以上产品均一代而终,以至于很多人都以为英伟达只会做GPU。

图源:英伟达
实际上,英伟达曾经几次想涉足智能终端市场,最终都折戟沉沙,在吞下亏损的结果后老老实实继续经营GPU市场。不过,有着类似境遇的并不只有英伟达,英特尔、AMD等半导体厂商都多多少少涉足过智能终端市场,结果都是或放弃或出售,几乎没有例外。
AR眼镜会是英伟达的第一步棋吗?从市场角度来看,AI+AR眼镜虽然已经有了数十款已发布或待发布的产品,但是整个市场仍然处于早期阶段,多数厂商都在摸索着前进,也是最适合新玩家入场的时候。
而且,英伟达作为AI热潮的引领者,在AI领域也有足够的发言权和众多合作伙伴,可以轻松拉来OpenAI等企业的站场与合作,基于英伟达自身的数据中心,还能为AI+AR眼镜提供更廉价的算力,在这个层面上天然有着成本优势。
至于产品的具体硬件设计和制造,全球范围有不少厂商都可以满足英伟达的需求,比如为苹果代工vision Pro的立讯精密,以及为多个AR品牌代工产品的歌尔光学,都可以满足英伟达的需求。
此外,谷歌前段时间曝光的新一代操作系统Android XR,目前来看也会采用类似于Android的授权方式,帮助其他企业更快的进入XR市场,并以此为助力拓展谷歌在XR市场的影响力。

图源:谷歌
系统、硬件都有了,英伟达如果真的想进入AR市场其实并不难,问题是有必要吗?作为一家半导体企业,英伟达或许有强大的研发实力,但是也缺乏与消费者打交道的经验,举个例子,英伟达的PC显卡驱动,直到去年才算得上是勉强能用,在此之前已经被无数玩家吐槽为过时设计。
没有丰富的产品设计经验,在消费电子市场是很难立足的,而且英伟达还要面对的Meta、雷鸟、rokid等一众企业里,不少都是浸淫消费电子市场多年的公司。更别提后续还会有小米、三星、苹果等企业入局,在如此激烈的竞争里,英伟达依靠硬件和系统外包的方案很难脱颖而出。
那么英伟达为什么要趟这摊浑水呢?个人的看法是英伟达并非有意于AR眼镜产品市场,而是想将其作为一款技术展示产品,兜售自己的解决方案。这套方案里除了无背光增强现实数字全息技术外,很有可能还包括英伟达的AR显示芯片,或是专为AR系统设计的GPU芯片。
目前的AR芯片市场基本上被高通垄断,考虑到AR眼镜的未来市场规模,背后的芯片市场规模或许不会小于手机芯片市场,这是一个足以让所有半导体厂商都心动的“蛋糕”。
虽然英伟达目前还没有XR芯片的相关信息曝光,但是此前曾有媒体披露英伟达有多个ARM架构的芯片研发计划正在推进,其中很可能就有为XR类设备设计的低功耗移动端芯片。
如果一切进展顺利,我们或许会在年中或年底看到更多的信息披露,不管是英伟达设计的AR眼镜,还是英伟达的XR芯片曝光,都必然会改变整个市场的格局。在多数厂商都盯着AR眼镜市场的时候,英伟达更想成为整个市场的“地基”。
25年1月7日,CES(国际消费电子展) 2025 已盛大开幕,这是史上人气最高的一届CES,也是科技世界从移动到AI的分水岭。雷科技报道团正在美国·拉斯维加斯现场,对CES展开紧锣密鼓的现场报道。欢迎关注/搜索雷科技,获取来自一线的一手内容,涵盖新品报道、产业观察、技术解析、产品体验和高端专访。



