刚刚,台州老板卖房车IPO了,身家8.55亿元
今天,前吉利老将带来一个IPO,还是“中国房车第一股”。
1月13日,新吉奥房车有限公司(简称:新吉奥)登陆港交所,发行价为1.27港元/股,发行市值为12.2亿港元(约合11.5亿元)。开盘价为0.98港元/股,较发行价下跌22.8%,开盘后,股价最低跌至0.9港元/股,随后有所回升。截至10:57,新吉奥股价为1.12港元/股,市值为10.75亿港元。

来源:腾讯微证券
根据招股书,新吉奥是于澳洲和新西兰拥有广泛业务网络的房车公司,设计、开发、制造及销售定制拖挂式房车。
弗若斯特沙利文的资料显示,澳洲和新西兰房车市场呈现出相对集中的结构。根据 2023年销量数据,澳洲和新西兰房车市场的前五大参与者合计占据约55.4%的市场份额,其中新吉奥占据约6.8%的市场份额。此外,按2023年的收入计,澳洲和新西兰房车市场的前五大参与者合计占据约52.0%的市场份额,其中新吉奥占据约7.8%的市场份额。
按2023年的收入及销量计,其在澳洲和新西兰房车行业的市场份额中均位居第二。
此外,同资料显示,截至最后实际可行日期,新吉奥引领房车行业的发展,且正处于开发新型拖挂式电动房车车型的最后阶段,该车型重量较轻,兼具汽车设计及结构特征,是首批将拖挂式电动房车方案商业化的房车专家之一。
而这家房车公司的故事,还得从曾跟随李书福15年的吉利汽车“少帅”缪雪中谈起。
1971年出生于浙江台州,缪雪中从17岁开始从销售做起,就由李书福一手培养。1993年,吉利开始生产铝镁塑板,缪雪中借此进入建材市场,经销全国。最好的时候,一年能有1亿多元的销售额。
1999年,缪雪中继续跟随李书福进军汽车业,28岁时就被任命为吉利豪情汽车公司的总经理,成为全国乃至全球最年轻的汽车公司的CEO。
吉利创业期间,缪雪中创下销售突破3万辆大关的成绩,被称为吉利“少帅”。
2002年,离开吉利的缪雪中回到家乡台州,投身创业浪潮,创办了吉奥汽车,主要生产皮卡和SUV等车型,随后在进军澳洲和新西兰市场的设想下,缪雪中于2014年9月成立Regent公司并收购30多年历史的知名房车品牌Regent,正式进军澳洲市场。
招股书显示,新吉奥垂直整合的业务模式,将在中国的自主产品设计及制造专业知识与其在澳洲和新西兰的本地销售能力相结合,为房车车主提供从概念化、设计选择、定制、交付到各种售后服务的端到端车主体验。
公司利用最新的真空压机技术及先进的工艺在中国生产其车架及底盘,然后将其运送至位于墨尔本的组装线,以按照澳洲联邦标准进行组装,并在澳洲及新西兰进行销售。
截至2024年6月30日,公司已成功量产49款房车,均为标准房车,涵盖中端最畅销品牌Snowy River、豪华品牌 Regent及半越野品牌NEWGEN三个特色品牌下的八个不同系列。
2021年至2024上半年,公司分别向客户交付合共1,330辆、2,127辆、2,694辆及1,427辆房车,从2021年到2022年及从2022年到2023年分别增长59.9%及26.7%。
根据招股书披露,公司收入来源主要分为房车销售、销售二手房车和其他(提供售后服务期间销售房车零部件产生的收入),其中房车销售为营收主力,自2021年至2023年即2024年上半年,占比分别为99.6%、99.9%、98.7%、94.1%。
故而,销量增长带动收入持续激增。
同期,新吉奥收入分别为2.997亿元、4.998亿元及7.203亿元,相应毛利率为16.7%、16.5%及25.1%。
2024年上半年,公司收入为4.22亿元,同期毛利率为32.0%,毛利率提升主要由于新吉奥通过自营店及合营店零售房车的占比高于以批发价(通常低于零售价)向经销商销售的占比。
报告期内,公司净利润更是自2021年的0.251亿元大幅增长至2022年的0.33亿元,于2023年进一步增加至0.788亿元,三年涨超2倍。2024年上半年,公司净利润为0.404亿元。

来源:新吉奥招股书
值得注意的是,新吉奥是一家色彩浓厚的家族企业。
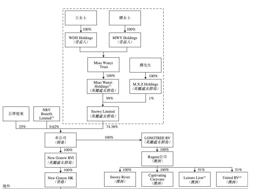
IPO前,根据招股书,以缪雪中为首的一组控股股东包括缪雪中、王丹红女士(缪雪中的配偶)、缪婉漪女士(缪雪中及王丹红女士之女)、Snowy Limited、M.X.Z Holdings、Miao Wanyi Holdings、Miao Wanyi Trust、WDH Holdings及MWY Holdings。
其中,新吉奥房车的直接股东为Snowy Limited,持股比例99.17%。Snowy Limited则由缪雪中的全资公司及Miao Wanyi Holdings各持99%及1%。Miao Wanyi Holdings则由信托Miao Wanyi Trust100% 持有,该信托的受益人为王丹红及缪婉漪各自全资拥有的公司。
至此,三人在IPO前持股约99%。
而IPO后,新吉奥房车的一组控股股东通过Snowy Limited(作为公司直接股东)持股74.38%,以发行市值11.5亿元计算,一家三口合计身家为8.55亿元。
本文来自微信公众号“直通IPO”


