2024,医美“上岸”大年
2024年医美行业的“上岸”潮,正是对三年前开始的行业法律逐渐完善、监管逐渐趋严的响应。
考公和考证,一生自强不息的中国人奋斗的两大终极赛道。在这两条赛道上获得成功,被形象地称为“上岸”。
《诗经·氓》中说“淇则有岸”。淇是水,岸为陆地。从生物进化顺序来看,从水生进化到陆生,似乎是地球生物的共识,因此水意味着变动、不确定,陆地意味着稳定、安全。
“上岸”,就生动表达着我们对稳定和安全的追求与向往。

可能在中国医美史上,没有哪一年像2024年这样疯狂“上岸”。这一年,透明质酸获证311张,胶原蛋白获证499张,强脉冲光设备获证145张……
2024,中国医美上演了一场“上岸”大戏。
01 三年之期,医美的“乱”与“治”
“大乱之后,必有大治。”当一个行业开始疯狂“考证”上岸,那一定是乱了多年,也一定是遭遇了重大“治理”。
的确,中国医美作为消费医疗发展以来,乱象丛生地暴力增长了几十年。三年前,行业监管政策才开始频频出台。
2021年6月,国家卫健委、中央网信办等八部委联合发布《打击非法医疗美容服务专项政治工作方案》;同年11月,《医疗美容广告执法指南》正式出台。
2022年315曝光医美黑培训。同年3月,国家药监局发布了《医疗器械分类目录》调整公告,明确表示“水光针类、射频仪器、埋植线”等产品正式纳入III类医疗器械管理范畴。其中射频治疗仪、射频皮肤治疗仪类产品获得缓冲期,自2024年4月1日起才被纳入第三类医疗器械管理。

同年4月,国家市场监督管理总局召开“2022民生领域案件查办铁拳行动”专题新闻发布会,明确表示,将查处医疗美容领域虚假宣传行为列入2022年民生领域案件查办铁拳行动重点。6月,国家卫健委、公安部、国家市场监督总局等九部门联合印发《2022年纠正医药购销领域和医疗服务中不正之风工作要点》通知,提出将“严肃查处医疗机构工作人员利用职务、身份之便直播带货”,给医美医务人员下了一道直播带货禁令。
2023年5月,市场监管总局、公安部、商务部、国家卫生健康委、海关总署、税务总局、国家网信办、国家中医药局、国家药监局、最高人民法院、最高人民检察院十一部门联合印发《关于进一步加强医疗美容行业监管工作的指导意见》,明确规定医疗美容服务属于医疗活动,必须遵守卫生健康有关行业准入的法律法规。其中着重强调跨部门综合监管,在现有法律法规框架下,从登记管理、资质审核、“证”“照”信息共享、通报会商、联合抽查检查、协同监管、行刑衔接等多个维度同时发力,构建贯通协同、高效联动的行业监管体系。
从2021到2023年,医美被严治了三年。
“三年”,在时间坐标上是个独特的存在。在我们日常生活中,有很多熟悉的“三年”。“一日不见,如隔三秋”“三年不开张,开张吃三年”“新三年,旧三年,缝缝补补又三年”“一年生,两年熟,三年正好能上路”……
很多事,需要三年去改变、形成与验证。2024年医美行业的“上岸”潮,正是对三年前开始的行业法律逐渐完善、监管逐渐趋严的响应。

02 “证”,2024医美开卷通行证
当前的大环境,用一个字形容,非“卷”莫属。但是当行业逐步走向合规化,以及合规化先行品牌的市场教育,让“证”成为一道参与行业内卷的重要通行证。
近三年来,医美产业链各端都在加速“上岸”。下游各类培训逐渐规范化,中游促使了大批做黑医美的生美机构拿医疗美容机构执业许可证做双美,上游医疗器械品牌也加速了“考证”。
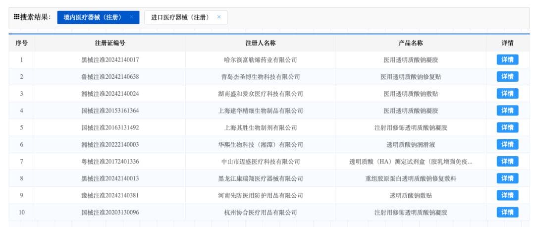
在医疗器械行业,合规化有三张证:医疗器械产品注册证、医疗器械生产许可证和医疗器械经营许可证。其中注册证涉及产品技术、临床试验报告等,对产品的技术性能和质量要求高,是三证中耗时最长、费用最高、难度最大的一环,因此行业中查看新品动态常以注册证为标志。
通过查询国家药监局数据,我们可以看到,2024是不折不扣的“下证”大年:
“透明质酸”共计687个,其中2024年新获批的达311个,占比45.27%;
“胶原蛋白”共计1044个,其中2024年新获批达499个,占比47.80%;
“重组胶原蛋白”共计753个,其中2024新获批达485个,占比64.41%;
“强脉冲光”共计145个,2024年新获批43个,占比29.66%……
此外再生材料新增5款,家用美容仪新增3款……
不过,因为考证难,近年行业内也兴起了另一条路:OEM,以机构定制自有品牌为主。
OEM的政策本质是“一证多牌”,但这条路目前尚不知能走多远,因为参考化妆品行业,2023年已明确要求“一证一牌”,禁止“套证”。趋严的监管政策会不会蔓延至医美行业尚未可知。
03 考证“作弊者”,引发了超声风波
先不论“套证”问题,当“证”成为参与行业竞争以及抢占市场的先决条件,“考证”速度也就成为品牌竞争方式之一。

江苏吴中旗下童颜针于今年1月成功上岸并上市,立即就为其带来4175.12%的营收增长,活脱脱上演了“先到先得”的戏码。
时间窗口不等人,于是医美行业的“考证”潮,当然也会像所有的考试一样,有“作弊者”。
2024年末,一批“作弊者”被揪了出来,在业内引发了一场轰轰烈烈的超声风波。
包括近几年风很大的“超声炮”在内的超声治疗仪,注册证适用范围被发现在今年做了调整,具体调整包括去除了“适用范围/预期用途中”“用于医疗机构康复科、皮肤科、整形美容科、妇产科相关疾病的辅助治疗”的表述。因此当前NMPA含超声炮在内的医疗设备适用范围为:适用于人体肩颈、腰腹部及四肢部位慢性组织损伤疼痛的辅助治疗,不可用于创面。
这一适用范围的修改,就引发了一个问题:超声炮等设备还能在医美行业用吗?
这个问题还得追溯到“证”的源头。
在国内,医疗器械依据风险程度由低到高,划为第一类、第二类、第三类三个类别,分别由市级、省级药监部门、NMPA负责管理。医美械三之难,不说难于上青天,但从目前总计不超过200的获批数量可见一斑。据统计,目前NMPA获批械三医美设备仅73款,医美产品72款,医美耗材31款。
全球首款超声刀从2008年上市以来,十几年都没有产品在中国获批上市,一直存在市场空白。虽然没有产品上市,但2018年,NMPA医疗器械技术审评中心(CMDE)发布了一篇《“美容超声刀”介绍》的文章,文中提到,“美容超声刀类产品”在美国作为医疗器械管理,已有产品获准上市,获准的适用范围为“提升眉部”、“提升松弛的颏下(下颚下)和颈部组织”和“改善前胸的细纹和皱纹”,在国内作为第三类医疗器械管理。

医美超声技术,作为声光电重要技术之一,在抗衰方面有其独特优势。国内市场合规产品的缺席,以及市场对领先技术的需求,催生着无数“水货”流行。
眼看着市场需求巨大,却无产品,“超声炮”们作着弊擦着边先拿械二证抢占市场。
因为第二类医疗器械证由省级药监部门监管,不同省份在管理办法方面有所差异。由于湖南省在医美超声产品注册审批上“比较激进”,很多企业选择去湖南拿证。因此“超声风波”中所涉及变更的企业,都拿的第二类医疗器械证,且全部来自湖南省。
“超声炮”们还在努力拿械三证,不过“先上车再补票”的路如今也被堵死,中国医美纷纷考证上岸将是未来常态。
本文来自微信公众号“美业新纬度”